Belts & Pulleys for 2009 Nissan Altima
Vehicle
2009 Nissan Altima
Change Vehicle
Categories
- Aperture Panel
- Bumper & Components - Front
- Bumper & Components - Rear
- Center Console
- Center Pillar & Rocker
- Cluster & Switches
- Cowl
- Door & Components
- Driver Seat Components
- Ducts
- Exterior Trim - Door
- Exterior Trim - Fender
- Exterior Trim - Front Door
- Exterior Trim - Pillars
- Exterior Trim - Quarter Panel
- Exterior Trim - Rear Door
- Exterior Trim - Trunk
- Fender & Components
- Floor & Rails
- Front Door
- Front Seat Components
- Fuel Door
- Glass - Door
- Glass - Front Door
- Glass - Rear Door
- Glass - Windshield
- Glass & Hardware
- Glass & Hardware - Back
- Glove Box
- Grille & Components
- Hinge Pillar
- Hood & Components
- Inner Structure
- Instrument Panel
- Instrument Panel Components
- Interior Trim - Door
- Interior Trim - Front Door
- Interior Trim - Pillars
- Interior Trim - Quarter Panels
- Interior Trim - Rear Body
- Interior Trim - Rear Door
- Interior Trim - Roof
- Interior Trim - Trunk
- Labels
- Lid & Components
- Lock & Hardware
- Lock Pillar
- Master Cylinder - Components On Dash Panel
- Outside Mirrors
- Quarter Panel & Components
- Radiator Support
- Rear Body
- Rear Door
- Rear Floor & Rails
- Rear Seat Components
- Reveal Moldings
- Rocker Panel
- Roof & Components
- Seat Belt
- Sound System
- Splash Shields
- Spoiler
- Structural Components & Rails
- Sunroof
- Trunk
- Uniside
- Wiper & Washer Components
- ABS Components
- Air Bag Components
- Alternator
- Antenna & Radio
- Battery
- Bulbs - Chassis
- Combination Lamps
- Communication System Components
- Controls
- Electrical Components
- Fog Lamps
- Front Door
- Front Seat Belts
- Fuse & Relay
- Headlamp Components
- Heated Seats
- High Mounted Stop Lamp
- Horn
- Ignition Lock
- Ignition System
- Instruments & Gauges
- Keyless Entry Components
- License Lamps
- Mirrors
- Navigation System
- Navigation System Components
- Parking Aid
- Power Seats
- Powertrain Control
- Rear Door
- Rear Seat Belts
- Senders
- Sunroof
- Switches
- Tire Pressure Monitor Components
- Trunk
- Wipers
- Wiring Harness
- 19" Polished Forged Alloy Wheel
- 4" Hitch Ball Mount , Class Iii
- Ball Mount
- Ball Mount Kit
- Ball Mount, Type, Class Iii
- Bed
- Bed Liner
- Bed Tent
- Bedliner ( Crew Cab)
- Bedliner (Crew Cab, Without Utility Bed)
- Bedliner (King Cab)
- Body Side Molding
- Chrome Bed Tube Rails
- Chrome Door Handle Accents
- Chrome Front Fascia Accent
- Chrome Side Mirror Covers
- Chrome Tail Gate Applique
- Chrome Tailgate Applique
- Covers
- Cube Aerodynamic Components
- Custom Grille
- Deflectors
- Fixed Bed Extender
- Fog Lights
- Fog Lights For Plastic Bumper
- Fog Lights For Steel Bumper
- Frame & Components
- Front Chin Aero Deflector (Black)
- GT-R(R) Logo Chrome Jack
- Harness Required For SE Only
- Hatch Tent 10' X 10'
- Hitch Ball Class I
- Hitch Ball Class II
- Hitch Ball Mount, Class Iii
- Hitch Cap
- Hitch Relay
- Hood Molding Accent
- Hood Protector
- Hood Protector - Chrome Finish
- Hood Protector - Smoke Color
- Hyper Daytime Running Lights
- Jack Rod
- LED Daytime Driving Lights
- License Frame
- License Plate Frame ("Z(R)" Logo)
- Lights
- Moonroof Wind Deflector
- Nissan Chrome License Plate Frame & Valve Stem Caps Package
- Nissan Vehicle Tracking & Recovery System
- Non-Sliding Bed Tool Box
- Non-Sliding Tool Box
- Nose Mask
- Original Wraps Graphics
- Rear Bumper Step-UP Assist
- Rear Spoiler
- Rear Tail Gate Replacement Component
- Receiver Hitch Class I
- Receiver Hitch, Class Iii
- Side Window Deflector
- Side Window Deflectors
- Sills
- Sliding Bed Divider
- Sliding Bed Extender
- Sliding Bed Tool Box
- Sliding Tool Box
- Spare Tire Lock
- Splash Guards
- Splash Guards Rear
- Spoiler
- Spoilers
- Sports Horn
- Stainless Steel Exhaust Tip
- Step Rails
- Step Rails - Crew Cab
- Taillight Guards
- Telescoping Tow Mirrors (Power & Heated Mirrors)
- Telescoping Tow Mirrors (Power, Heated, & Memory Mirrors)
- Texas Titan Rear Tail Gate Badge
- Tire Valve Stem Caps/Nissan Logo'd
- Tow Harness - 4 Pin
- Tow Harness - 7-Pin
- Tow Hitch Receiver, Class IV
- Towing
- U-Shape Side Step
- Vehicle Cover
- Vehicle Cover - Silverguard Plus
- Vehicle Cover - Triguard Plus
- Vehicle Cover, Cable Lock
- Vehicle Storage Cover
- Weight Distributing Hitch Ball Mount, Class IV
- Wheel Locks
- Z(R) Tire Valve Stem Caps ( 4-Piece Set)
- Z&Reg Chrome License Plate Frame & Valve Stem Caps Package
- Air Bag Anti-Theft Bolt (Passenger Side)
- All Season Floor Mats
- All Season Floor Mats (3 PC Set)
- All Season Floor Mats (Set OF 4)
- Aluminum Kick Plates
- Aluminum Kick Plates Set OF 2 (Front Only)
- Ash Cup
- Auto-Dimming Mirror, With Compass & Homelink(R)
- Auto-Dimming Rear View Mirror With Compass
- Cargo
- Cargo Area Organizer
- Cargo Area Protector
- Cargo Organizer
- Carpeted Cargo Mat
- Carpeted Floor Mats
- Carpeted Floor Mats - Black
- Carpeted Floor Mats ( 4-PC Sets)
- Carpeted Trunk Mat
- Emergency Road Kit
- Exterior Trim - Pick UP Box
- Floor Mats
- Front Door Bungees
- Full Length Rear Cargo Liner
- Heater Components
- Hide-Away Trunk Net
- Illuminated Kick Plates
- Illuminated Kick Plates, Stainless Steel
- In-Cabin Microfilter
- In-Mirror Rearview Monitor
- In-Mirror Rearview Monitor With Homelink(R) & Digital Compass
- Interior Trim Appliques
- Mirror
- Nismo Carpeted Floor Mats ( 2-Piece Set)
- Non-Sport Carpeted Floor Mats
- Portable Cargo Organizer
- Premium Carpeted Floor Mats
- Premium Sport Floor Mat With Carbon Fiber Insert
- Rear Cargo Cover
- Rear Under-Seat Storage Bin
- Rearview Monitor
- Retractable Cargo Area Cover
- Ripple Hooks
- Safety
- Seats
- Shag Dash Topper
- Sliding Cargo Organizer
- Smokers Kit
- Spare Tire Cover
- Tool Kit Standard (Without Jack)
- Trunk Mat
- Utility Pouch
- Water Resistant Seat Covers
- Aperture Panel
- Bumper & Components - Front
- Bumper & Components - Rear
- Center Console
- Center Pillar & Rocker
- Cluster & Switches
- Cowl
- Door & Components
- Driver Seat Components
- Ducts
- Exterior Trim - Door
- Exterior Trim - Fender
- Exterior Trim - Front Door
- Exterior Trim - Pillars
- Exterior Trim - Quarter Panel
- Exterior Trim - Rear Door
- Exterior Trim - Trunk
- Fender & Components
- Floor & Rails
- Front Door
- Front Seat Components
- Fuel Door
- Glass - Door
- Glass - Front Door
- Glass - Rear Door
- Glass - Windshield
- Glass & Hardware
- Glass & Hardware - Back
- Glove Box
- Grille & Components
- Hinge Pillar
- Hood & Components
- Inner Structure
- Instrument Panel
- Instrument Panel Components
- Interior Trim - Door
- Interior Trim - Front Door
- Interior Trim - Pillars
- Interior Trim - Quarter Panels
- Interior Trim - Rear Body
- Interior Trim - Rear Door
- Interior Trim - Roof
- Interior Trim - Trunk
- Labels
- Lid & Components
- Lock & Hardware
- Lock Pillar
- Master Cylinder - Components On Dash Panel
- Outside Mirrors
- Quarter Panel & Components
- Radiator Support
- Rear Body
- Rear Door
- Rear Floor & Rails
- Rear Seat Components
- Reveal Moldings
- Rocker Panel
- Roof & Components
- Seat Belt
- Sound System
- Splash Shields
- Spoiler
- Structural Components & Rails
- Sunroof
- Trunk
- Uniside
- Wiper & Washer Components
- ABS Components
- Air Bag Components
- Alternator
- Antenna & Radio
- Battery
- Bulbs - Chassis
- Combination Lamps
- Communication System Components
- Controls
- Electrical Components
- Fog Lamps
- Front Door
- Front Seat Belts
- Fuse & Relay
- Headlamp Components
- Heated Seats
- High Mounted Stop Lamp
- Horn
- Ignition Lock
- Ignition System
- Instruments & Gauges
- Keyless Entry Components
- License Lamps
- Mirrors
- Navigation System
- Navigation System Components
- Parking Aid
- Power Seats
- Powertrain Control
- Rear Door
- Rear Seat Belts
- Senders
- Sunroof
- Switches
- Tire Pressure Monitor Components
- Trunk
- Wipers
- Wiring Harness
- 19" Polished Forged Alloy Wheel
- 4" Hitch Ball Mount , Class Iii
- Ball Mount
- Ball Mount Kit
- Ball Mount, Type, Class Iii
- Bed
- Bed Liner
- Bed Tent
- Bedliner ( Crew Cab)
- Bedliner (Crew Cab, Without Utility Bed)
- Bedliner (King Cab)
- Body Side Molding
- Chrome Bed Tube Rails
- Chrome Door Handle Accents
- Chrome Front Fascia Accent
- Chrome Side Mirror Covers
- Chrome Tail Gate Applique
- Chrome Tailgate Applique
- Covers
- Cube Aerodynamic Components
- Custom Grille
- Deflectors
- Fixed Bed Extender
- Fog Lights
- Fog Lights For Plastic Bumper
- Fog Lights For Steel Bumper
- Frame & Components
- Front Chin Aero Deflector (Black)
- GT-R(R) Logo Chrome Jack
- Harness Required For SE Only
- Hatch Tent 10' X 10'
- Hitch Ball Class I
- Hitch Ball Class II
- Hitch Ball Mount, Class Iii
- Hitch Cap
- Hitch Relay
- Hood Molding Accent
- Hood Protector
- Hood Protector - Chrome Finish
- Hood Protector - Smoke Color
- Hyper Daytime Running Lights
- Jack Rod
- LED Daytime Driving Lights
- License Frame
- License Plate Frame ("Z(R)" Logo)
- Lights
- Moonroof Wind Deflector
- Nissan Chrome License Plate Frame & Valve Stem Caps Package
- Nissan Vehicle Tracking & Recovery System
- Non-Sliding Bed Tool Box
- Non-Sliding Tool Box
- Nose Mask
- Original Wraps Graphics
- Rear Bumper Step-UP Assist
- Rear Spoiler
- Rear Tail Gate Replacement Component
- Receiver Hitch Class I
- Receiver Hitch, Class Iii
- Side Window Deflector
- Side Window Deflectors
- Sills
- Sliding Bed Divider
- Sliding Bed Extender
- Sliding Bed Tool Box
- Sliding Tool Box
- Spare Tire Lock
- Splash Guards
- Splash Guards Rear
- Spoiler
- Spoilers
- Sports Horn
- Stainless Steel Exhaust Tip
- Step Rails
- Step Rails - Crew Cab
- Taillight Guards
- Telescoping Tow Mirrors (Power & Heated Mirrors)
- Telescoping Tow Mirrors (Power, Heated, & Memory Mirrors)
- Texas Titan Rear Tail Gate Badge
- Tire Valve Stem Caps/Nissan Logo'd
- Tow Harness - 4 Pin
- Tow Harness - 7-Pin
- Tow Hitch Receiver, Class IV
- Towing
- U-Shape Side Step
- Vehicle Cover
- Vehicle Cover - Silverguard Plus
- Vehicle Cover - Triguard Plus
- Vehicle Cover, Cable Lock
- Vehicle Storage Cover
- Weight Distributing Hitch Ball Mount, Class IV
- Wheel Locks
- Z(R) Tire Valve Stem Caps ( 4-Piece Set)
- Z&Reg Chrome License Plate Frame & Valve Stem Caps Package
- Air Bag Anti-Theft Bolt (Passenger Side)
- All Season Floor Mats
- All Season Floor Mats (3 PC Set)
- All Season Floor Mats (Set OF 4)
- Aluminum Kick Plates
- Aluminum Kick Plates Set OF 2 (Front Only)
- Ash Cup
- Auto-Dimming Mirror, With Compass & Homelink(R)
- Auto-Dimming Rear View Mirror With Compass
- Cargo
- Cargo Area Organizer
- Cargo Area Protector
- Cargo Organizer
- Carpeted Cargo Mat
- Carpeted Floor Mats
- Carpeted Floor Mats - Black
- Carpeted Floor Mats ( 4-PC Sets)
- Carpeted Trunk Mat
- Emergency Road Kit
- Exterior Trim - Pick UP Box
- Floor Mats
- Front Door Bungees
- Full Length Rear Cargo Liner
- Heater Components
- Hide-Away Trunk Net
- Illuminated Kick Plates
- Illuminated Kick Plates, Stainless Steel
- In-Cabin Microfilter
- In-Mirror Rearview Monitor
- In-Mirror Rearview Monitor With Homelink(R) & Digital Compass
- Interior Trim Appliques
- Mirror
- Nismo Carpeted Floor Mats ( 2-Piece Set)
- Non-Sport Carpeted Floor Mats
- Portable Cargo Organizer
- Premium Carpeted Floor Mats
- Premium Sport Floor Mat With Carbon Fiber Insert
- Rear Cargo Cover
- Rear Under-Seat Storage Bin
- Rearview Monitor
- Retractable Cargo Area Cover
- Ripple Hooks
- Safety
- Seats
- Shag Dash Topper
- Sliding Cargo Organizer
- Smokers Kit
- Spare Tire Cover
- Tool Kit Standard (Without Jack)
- Trunk Mat
- Utility Pouch
- Water Resistant Seat Covers
Browse Categories
Select category
- Aperture Panel
- Bumper & Components - Front
- Bumper & Components - Rear
- Center Console
- Center Pillar & Rocker
- Cluster & Switches
- Cowl
- Door & Components
- Driver Seat Components
- Ducts
- Exterior Trim - Door
- Exterior Trim - Fender
- Exterior Trim - Front Door
- Exterior Trim - Pillars
- Exterior Trim - Quarter Panel
- Exterior Trim - Rear Door
- Exterior Trim - Trunk
- Fender & Components
- Floor & Rails
- Front Door
- Front Seat Components
- Fuel Door
- Glass - Door
- Glass - Front Door
- Glass - Rear Door
- Glass - Windshield
- Glass & Hardware
- Glass & Hardware - Back
- Glove Box
- Grille & Components
- Hinge Pillar
- Hood & Components
- Inner Structure
- Instrument Panel
- Instrument Panel Components
- Interior Trim - Door
- Interior Trim - Front Door
- Interior Trim - Pillars
- Interior Trim - Quarter Panels
- Interior Trim - Rear Body
- Interior Trim - Rear Door
- Interior Trim - Roof
- Interior Trim - Trunk
- Labels
- Lid & Components
- Lock & Hardware
- Lock Pillar
- Master Cylinder - Components On Dash Panel
- Outside Mirrors
- Quarter Panel & Components
- Radiator Support
- Rear Body
- Rear Door
- Rear Floor & Rails
- Rear Seat Components
- Reveal Moldings
- Rocker Panel
- Roof & Components
- Seat Belt
- Sound System
- Splash Shields
- Spoiler
- Structural Components & Rails
- Sunroof
- Trunk
- Uniside
- Wiper & Washer Components
- ABS Components
- Air Bag Components
- Alternator
- Antenna & Radio
- Battery
- Bulbs - Chassis
- Combination Lamps
- Communication System Components
- Controls
- Electrical Components
- Fog Lamps
- Front Door
- Front Seat Belts
- Fuse & Relay
- Headlamp Components
- Heated Seats
- High Mounted Stop Lamp
- Horn
- Ignition Lock
- Ignition System
- Instruments & Gauges
- Keyless Entry Components
- License Lamps
- Mirrors
- Navigation System
- Navigation System Components
- Parking Aid
- Power Seats
- Powertrain Control
- Rear Door
- Rear Seat Belts
- Senders
- Sunroof
- Switches
- Tire Pressure Monitor Components
- Trunk
- Wipers
- Wiring Harness
- 19" Polished Forged Alloy Wheel
- 4" Hitch Ball Mount , Class Iii
- Ball Mount
- Ball Mount Kit
- Ball Mount, Type, Class Iii
- Bed
- Bed Liner
- Bed Tent
- Bedliner ( Crew Cab)
- Bedliner (Crew Cab, Without Utility Bed)
- Bedliner (King Cab)
- Body Side Molding
- Chrome Bed Tube Rails
- Chrome Door Handle Accents
- Chrome Front Fascia Accent
- Chrome Side Mirror Covers
- Chrome Tail Gate Applique
- Chrome Tailgate Applique
- Covers
- Cube Aerodynamic Components
- Custom Grille
- Deflectors
- Fixed Bed Extender
- Fog Lights
- Fog Lights For Plastic Bumper
- Fog Lights For Steel Bumper
- Frame & Components
- Front Chin Aero Deflector (Black)
- GT-R(R) Logo Chrome Jack
- Harness Required For SE Only
- Hatch Tent 10' X 10'
- Hitch Ball Class I
- Hitch Ball Class II
- Hitch Ball Mount, Class Iii
- Hitch Cap
- Hitch Relay
- Hood Molding Accent
- Hood Protector
- Hood Protector - Chrome Finish
- Hood Protector - Smoke Color
- Hyper Daytime Running Lights
- Jack Rod
- LED Daytime Driving Lights
- License Frame
- License Plate Frame ("Z(R)" Logo)
- Lights
- Moonroof Wind Deflector
- Nissan Chrome License Plate Frame & Valve Stem Caps Package
- Nissan Vehicle Tracking & Recovery System
- Non-Sliding Bed Tool Box
- Non-Sliding Tool Box
- Nose Mask
- Original Wraps Graphics
- Rear Bumper Step-UP Assist
- Rear Spoiler
- Rear Tail Gate Replacement Component
- Receiver Hitch Class I
- Receiver Hitch, Class Iii
- Side Window Deflector
- Side Window Deflectors
- Sills
- Sliding Bed Divider
- Sliding Bed Extender
- Sliding Bed Tool Box
- Sliding Tool Box
- Spare Tire Lock
- Splash Guards
- Splash Guards Rear
- Spoiler
- Spoilers
- Sports Horn
- Stainless Steel Exhaust Tip
- Step Rails
- Step Rails - Crew Cab
- Taillight Guards
- Telescoping Tow Mirrors (Power & Heated Mirrors)
- Telescoping Tow Mirrors (Power, Heated, & Memory Mirrors)
- Texas Titan Rear Tail Gate Badge
- Tire Valve Stem Caps/Nissan Logo'd
- Tow Harness - 4 Pin
- Tow Harness - 7-Pin
- Tow Hitch Receiver, Class IV
- Towing
- U-Shape Side Step
- Vehicle Cover
- Vehicle Cover - Silverguard Plus
- Vehicle Cover - Triguard Plus
- Vehicle Cover, Cable Lock
- Vehicle Storage Cover
- Weight Distributing Hitch Ball Mount, Class IV
- Wheel Locks
- Z(R) Tire Valve Stem Caps ( 4-Piece Set)
- Z&Reg Chrome License Plate Frame & Valve Stem Caps Package
- Air Bag Anti-Theft Bolt (Passenger Side)
- All Season Floor Mats
- All Season Floor Mats (3 PC Set)
- All Season Floor Mats (Set OF 4)
- Aluminum Kick Plates
- Aluminum Kick Plates Set OF 2 (Front Only)
- Ash Cup
- Auto-Dimming Mirror, With Compass & Homelink(R)
- Auto-Dimming Rear View Mirror With Compass
- Cargo
- Cargo Area Organizer
- Cargo Area Protector
- Cargo Organizer
- Carpeted Cargo Mat
- Carpeted Floor Mats
- Carpeted Floor Mats - Black
- Carpeted Floor Mats ( 4-PC Sets)
- Carpeted Trunk Mat
- Emergency Road Kit
- Exterior Trim - Pick UP Box
- Floor Mats
- Front Door Bungees
- Full Length Rear Cargo Liner
- Heater Components
- Hide-Away Trunk Net
- Illuminated Kick Plates
- Illuminated Kick Plates, Stainless Steel
- In-Cabin Microfilter
- In-Mirror Rearview Monitor
- In-Mirror Rearview Monitor With Homelink(R) & Digital Compass
- Interior Trim Appliques
- Mirror
- Nismo Carpeted Floor Mats ( 2-Piece Set)
- Non-Sport Carpeted Floor Mats
- Portable Cargo Organizer
- Premium Carpeted Floor Mats
- Premium Sport Floor Mat With Carbon Fiber Insert
- Rear Cargo Cover
- Rear Under-Seat Storage Bin
- Rearview Monitor
- Retractable Cargo Area Cover
- Ripple Hooks
- Safety
- Seats
- Shag Dash Topper
- Sliding Cargo Organizer
- Smokers Kit
- Spare Tire Cover
- Tool Kit Standard (Without Jack)
- Trunk Mat
- Utility Pouch
- Water Resistant Seat Covers
- Aperture Panel
- Bumper & Components - Front
- Bumper & Components - Rear
- Center Console
- Center Pillar & Rocker
- Cluster & Switches
- Cowl
- Door & Components
- Driver Seat Components
- Ducts
- Exterior Trim - Door
- Exterior Trim - Fender
- Exterior Trim - Front Door
- Exterior Trim - Pillars
- Exterior Trim - Quarter Panel
- Exterior Trim - Rear Door
- Exterior Trim - Trunk
- Fender & Components
- Floor & Rails
- Front Door
- Front Seat Components
- Fuel Door
- Glass - Door
- Glass - Front Door
- Glass - Rear Door
- Glass - Windshield
- Glass & Hardware
- Glass & Hardware - Back
- Glove Box
- Grille & Components
- Hinge Pillar
- Hood & Components
- Inner Structure
- Instrument Panel
- Instrument Panel Components
- Interior Trim - Door
- Interior Trim - Front Door
- Interior Trim - Pillars
- Interior Trim - Quarter Panels
- Interior Trim - Rear Body
- Interior Trim - Rear Door
- Interior Trim - Roof
- Interior Trim - Trunk
- Labels
- Lid & Components
- Lock & Hardware
- Lock Pillar
- Master Cylinder - Components On Dash Panel
- Outside Mirrors
- Quarter Panel & Components
- Radiator Support
- Rear Body
- Rear Door
- Rear Floor & Rails
- Rear Seat Components
- Reveal Moldings
- Rocker Panel
- Roof & Components
- Seat Belt
- Sound System
- Splash Shields
- Spoiler
- Structural Components & Rails
- Sunroof
- Trunk
- Uniside
- Wiper & Washer Components
- ABS Components
- Air Bag Components
- Alternator
- Antenna & Radio
- Battery
- Bulbs - Chassis
- Combination Lamps
- Communication System Components
- Controls
- Electrical Components
- Fog Lamps
- Front Door
- Front Seat Belts
- Fuse & Relay
- Headlamp Components
- Heated Seats
- High Mounted Stop Lamp
- Horn
- Ignition Lock
- Ignition System
- Instruments & Gauges
- Keyless Entry Components
- License Lamps
- Mirrors
- Navigation System
- Navigation System Components
- Parking Aid
- Power Seats
- Powertrain Control
- Rear Door
- Rear Seat Belts
- Senders
- Sunroof
- Switches
- Tire Pressure Monitor Components
- Trunk
- Wipers
- Wiring Harness
- 19" Polished Forged Alloy Wheel
- 4" Hitch Ball Mount , Class Iii
- Ball Mount
- Ball Mount Kit
- Ball Mount, Type, Class Iii
- Bed
- Bed Liner
- Bed Tent
- Bedliner ( Crew Cab)
- Bedliner (Crew Cab, Without Utility Bed)
- Bedliner (King Cab)
- Body Side Molding
- Chrome Bed Tube Rails
- Chrome Door Handle Accents
- Chrome Front Fascia Accent
- Chrome Side Mirror Covers
- Chrome Tail Gate Applique
- Chrome Tailgate Applique
- Covers
- Cube Aerodynamic Components
- Custom Grille
- Deflectors
- Fixed Bed Extender
- Fog Lights
- Fog Lights For Plastic Bumper
- Fog Lights For Steel Bumper
- Frame & Components
- Front Chin Aero Deflector (Black)
- GT-R(R) Logo Chrome Jack
- Harness Required For SE Only
- Hatch Tent 10' X 10'
- Hitch Ball Class I
- Hitch Ball Class II
- Hitch Ball Mount, Class Iii
- Hitch Cap
- Hitch Relay
- Hood Molding Accent
- Hood Protector
- Hood Protector - Chrome Finish
- Hood Protector - Smoke Color
- Hyper Daytime Running Lights
- Jack Rod
- LED Daytime Driving Lights
- License Frame
- License Plate Frame ("Z(R)" Logo)
- Lights
- Moonroof Wind Deflector
- Nissan Chrome License Plate Frame & Valve Stem Caps Package
- Nissan Vehicle Tracking & Recovery System
- Non-Sliding Bed Tool Box
- Non-Sliding Tool Box
- Nose Mask
- Original Wraps Graphics
- Rear Bumper Step-UP Assist
- Rear Spoiler
- Rear Tail Gate Replacement Component
- Receiver Hitch Class I
- Receiver Hitch, Class Iii
- Side Window Deflector
- Side Window Deflectors
- Sills
- Sliding Bed Divider
- Sliding Bed Extender
- Sliding Bed Tool Box
- Sliding Tool Box
- Spare Tire Lock
- Splash Guards
- Splash Guards Rear
- Spoiler
- Spoilers
- Sports Horn
- Stainless Steel Exhaust Tip
- Step Rails
- Step Rails - Crew Cab
- Taillight Guards
- Telescoping Tow Mirrors (Power & Heated Mirrors)
- Telescoping Tow Mirrors (Power, Heated, & Memory Mirrors)
- Texas Titan Rear Tail Gate Badge
- Tire Valve Stem Caps/Nissan Logo'd
- Tow Harness - 4 Pin
- Tow Harness - 7-Pin
- Tow Hitch Receiver, Class IV
- Towing
- U-Shape Side Step
- Vehicle Cover
- Vehicle Cover - Silverguard Plus
- Vehicle Cover - Triguard Plus
- Vehicle Cover, Cable Lock
- Vehicle Storage Cover
- Weight Distributing Hitch Ball Mount, Class IV
- Wheel Locks
- Z(R) Tire Valve Stem Caps ( 4-Piece Set)
- Z&Reg Chrome License Plate Frame & Valve Stem Caps Package
- Air Bag Anti-Theft Bolt (Passenger Side)
- All Season Floor Mats
- All Season Floor Mats (3 PC Set)
- All Season Floor Mats (Set OF 4)
- Aluminum Kick Plates
- Aluminum Kick Plates Set OF 2 (Front Only)
- Ash Cup
- Auto-Dimming Mirror, With Compass & Homelink(R)
- Auto-Dimming Rear View Mirror With Compass
- Cargo
- Cargo Area Organizer
- Cargo Area Protector
- Cargo Organizer
- Carpeted Cargo Mat
- Carpeted Floor Mats
- Carpeted Floor Mats - Black
- Carpeted Floor Mats ( 4-PC Sets)
- Carpeted Trunk Mat
- Emergency Road Kit
- Exterior Trim - Pick UP Box
- Floor Mats
- Front Door Bungees
- Full Length Rear Cargo Liner
- Heater Components
- Hide-Away Trunk Net
- Illuminated Kick Plates
- Illuminated Kick Plates, Stainless Steel
- In-Cabin Microfilter
- In-Mirror Rearview Monitor
- In-Mirror Rearview Monitor With Homelink(R) & Digital Compass
- Interior Trim Appliques
- Mirror
- Nismo Carpeted Floor Mats ( 2-Piece Set)
- Non-Sport Carpeted Floor Mats
- Portable Cargo Organizer
- Premium Carpeted Floor Mats
- Premium Sport Floor Mat With Carbon Fiber Insert
- Rear Cargo Cover
- Rear Under-Seat Storage Bin
- Rearview Monitor
- Retractable Cargo Area Cover
- Ripple Hooks
- Safety
- Seats
- Shag Dash Topper
- Sliding Cargo Organizer
- Smokers Kit
- Spare Tire Cover
- Tool Kit Standard (Without Jack)
- Trunk Mat
- Utility Pouch
- Water Resistant Seat Covers
No.
Part # / Description / Price
Price
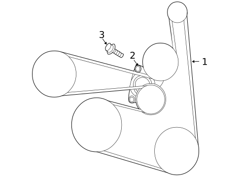
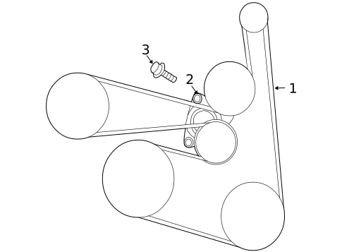
1
MSRP $62.40
$46.43
No.
Part # / Description / Price
Price
1
Serpentine Belt
Nissan
Nissan Description: Altima Hybrid. Routing:Crk,Tens,Wp,Idler. Water Pump.
MSRP $74.88
$55.71
MSRP $74.88
$55.71
3
Belt Tensioner Bolt
Nissan
Nissan Description: 2.5L. Without hybrid heat. 2.0L hybrid. #1. Sedan, 3.5L.
MSRP $2.05
$1.53
MSRP $2.05
$1.53